Nissan Micra (2002) - Reparaturanleitung: Abgasanlage aus- und einbauen
Achtung: es wird der ausbau der kompletten anlage beschrieben.
Allerdings läßt sich auch jedes teil der abgasanlage
einzeln austauschen. Gummipuffer und dichtungen sowie
befestigungsmuttern grundsätzlich mitersetzen.
Ausbau
Achtung: katalysator beim aus- und einbau keinen stößen
aussetzen, da er dadurch beschädigt werden kann. Also
nicht fallen lassen oder mit dem hammer gegen das gehäuse
schlagen.
- Vorderes abgasrohr von katalysator i abschrauben und
herausnehmen.
Einbau
Achtung: um die muttern und schrauben der abgasanlage
später leichter lösen zu können, empfiehlt es sich, diese mit
einer hochtemperaturpaste einzustreichen, zum beispiel
liqui moly lm-508-asc.
- Falls gebrauchte rohre der abgasanlage wieder eingebaut
werden, anschlußstücke der abgasrohre vor dem
zusammenfügen mit schmirgelleinen von verbrennungsrückständen
reinigen. Dichtungsreste an den flanschflächen
mit einem schaber entfernen. Achtung: insbesondere
bei katalysatorfahrzeugen muß die abgasanlage
bis zum katalysator besonders dicht sein. Daher müssen
die ausgebauten dichtungen durch neuteile ersetzt werden,
sonst treten mängel im fahrverhalten auf.
- Vorderes abgasrohr an katalysator i ansetzen.

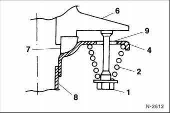
- Abstandschraube - 1 - mit feder - 2 - so einsetzen, daß
der größere windungsdurchmesser - 3 - zum rohrflansch
- 4 - zeigt. 5 = Kleinerer windungsdurchmesser.

- Vorderes abgasrohr - 8 - so ausrichten, daß die befestigungsschraube
- 1 - mittig durch die flanschbohrung - 9 -
geführt wird. 2 - Feder, 4 - rohrflansch, 6 - katalysator i,
7 - dichtung.
- Abgasrohre und schalldämpfer zusammenschrauben.
Achtung: vor dem zusammenfügen von abgasrohren,
anschlußstellen mit handelsüblichem dichtmittel oder mit
nissan-"exhaust sealant-20720-n2225" bestreichen.
Das betrifft insbesondere die verbindungsstelle mittelschalldämpfer/
hinteres abgasrohr bei den modellen
micra-generation I.

- Vor dem anziehen der schrauben, abgasrohre und
schalldämpfer durch drehen und verschieben ausrichten
und in die gummiaufhängungen - 9 - einhängen. Dabei
auf ausreichenden abstand zum unterboden achten
(mindestens 25 mm).

Lambdasonde aus- und einbauen
Die lambdasonde dient zur regelung der abgaszusammensetzung
bei benzinmotoren mit geregeltem katalysator. Die
sonde ist in den abgaskrümmer eingeschraubt.
Achtung: die anschlußkabel der lambdasonde dürfen nicht
repariert oder gelötet werden. Ist ein kabel beschädigt,
lambdasonde komplett ersetzen.
Ausbau

- Elektrische steckverbindung - 1 - trennen.
- Lambdasonde - 2 - am abgaskrümmer herausschrauben.
Einbau
Achtung: bei ersatz der lambdasonde nur gleiche ausführung
verwenden.
- Gewinde säubern.
- Lambdasonde mit dichtring einschrauben und mit 55 nm
festziehen. Stecker für lambdasondenleitung zusammenfügen.
Um beschädigungen an der lambdasonde und am katalysator
zu vermeiden, sind nachstehende hinweise unbedingt zu
beachten:
grundsätzlich nur bleifreies benzin tanken.
Das an ...
Die kupplung hat 2 aufgaben: beim schalten der gänge
trennt sie den kraftschluß zwischen motor und getriebe und
beim anfahren sorgt sie durch reibung für einen stoßfreien
kraf ...
Andere Materialien:
Gilt für: Fahrzeuge mit WLAN
Über die Medienquelle WLAN-Audioplayer des MMI können Sie Ihren WLAN-fähigen
Medienplayer (z. B. Smartphone) anbinden und bedienen, um Musik aus der Mediathek
Ihres Medienplayers drahtlos abzuspielen. Der Medienplayer wird über den WLAN-Hotspot
des Fahrzeugs angebunden.
Die Anfahrhilfe sorgt dafür, dass die Parkbremse beim Anfahren automatisch
gelöst wird.
Anhalten und Parkbremse schließen
► Um die Parkbremse zu schließen, ziehen Sie am Taster
.
Anfahren und Parkbremse automatisch lösen
â–º Wenn die Kontrollleuchte im Kombiinstrument
leuchtet, geben Sie wie gewohnt Gas, um
die Parkbremse automatisch zu lösen.
PedaleDie Bedienung und die Bewegungsfreiheit aller Pedale darf niemals durch Gegenstände
oder Fußmatten beeinträchtigt sein.
► Stellen Sie sicher, dass Sie die Pedale immer ungehindert durchtreten können.
► Stellen Sie sicher, dass die Pedale ungehindert in ihre Ausgangsstellung zurück
kommen können.