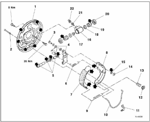
Nissan Micra (2002) - Reparaturanleitung: Trommelbremse hinten
Micra-generation I

- Bremsträger
- haltestift
- drehachse für handbremshebel
- handbremshebel
- nachstelleinheit
- feder für handbremshebel
- auflauf-bremsbacke
- ablauf-bremsbacke
- rückholfeder
- rückholfeder
- halteblech
- federteller
- druckfeder
- halteklammer
- beilegscheibe
- radbremszylindergehäuse
- feder
- kolbenmanschette
- kolben
- staubmanschette
- entlüftungsventil, 8 nm
- gummikappe
Achtung: folgende bauteile nach jedem
ausbau erneuern: 18, 20.
Die mit schwarzem pfeil gekennzeichneten
stellen dünn mit hochtemperaturfett
bestreichen.
Micra-generation II

- Bremsträger
- haltestift
- verschlußstopfen
- handbremshebel
- nachstelleinheit
- rückstellfedern
- auflauf-bremsbacke
- ablauf-bremsbacke
- radbremszylinder
- bremsleitung
- entlüftungsventil, 10 nm
- federteller
- druckfeder
Achtung: die mit -a- gekennzeichneten
stellen dünn mit hochtemperaturfett
bestreichen.
Ausbau
Rad zur radnabe mit farbe kennzeichnen. Dadurch kann das ausgewuchtete rad wieder an gleicher stelle montiert werden.
Radmuttern bei auf dem boden stehendem fahrzeug lö ...
Ausbau
Rad zur radnabe mit farbe kennzeichnen. Dadurch kann das ausgewuchtete rad wieder an gleicher stelle montiert werden.
Radmuttern lösen, fahrzeug steht dabei auf den r&a ...
Andere Materialien:
Ausbau
Modelle mit durchgehender rücksitzbank: rücksitzbank
an der vorderkante ruckartig nach oben ziehen. Beim
micra der generation ii dann außerdem unterhalb der
lehne 2 schrauben lösen. Rücksitzbank herausnehmen.
Beschreibung
Gilt für: Fahrzeuge mit Audi adaptive cruise control und Audi active lane assist
Der Stauassistent unterstützt den Fahrer beim Fahren in Stausituationen oder
bei zähfließendem Verkehr.
Abb. 157 Blinkerhebel: Taste zum Aktivieren
des Stauassistenten
Abb.
Achtung: wird die batterie abgeklemmt, werden der fehlerspeicher
der motorsteuerung, antiblockiersystem sowie andere
ständig im eingriff befindliche geräte (zum beispiel radio
und zeituhr) stillgelegt beziehungsweise gelöscht. Vor
dem abklemmen gegebenenfalls fehlerspeicher abrufen las-
einige radios besitzen überdies eine anti-diebstahl-codierung.