Nissan Micra (2002) - Reparaturanleitung: Drosselklappenzug prüfen/einstellen ausund
einbauen
Automatikgetriebe micra-generation II
Der drosselklappenzug muß geprüft und eingestellt werden,
nachdem einstellungen am drosselklappensystem vorgenommen
wurden oder der gaszug gewechselt beziehungsweise
eingestellt wurde.
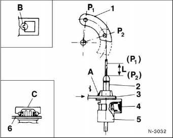
Prüfen

- Drosselklappensegment - 1 - von der leerlaufstellung p2
in die vollgasstellung p1 drücken. Dabei muß der gaszug
den betätigungsweg l zurücklegen. Sollwert: l =
51,2 +- 2,0 mm. Andernfalls gaszug einstellen. 2 -
Außenhülse, 3 - einstellhülse, 4 - konsole, 5 - halteblech,
6 - rückstellfeder, 7 - gehäuse.
Einstellen
Achtung: getriebeseitig darf der seilzug kein spiel aufweisen,
weil der drosselklappenzug automatisch eingestellt
wird.
Ausbau

- Ölablaßschraube aus der ölwanne herausdrehen und
atf ablassen. Vorher auffangwanne unter das getriebe
stellen.
- Ölwanne abschrauben und mit flachdichtung abnehmen.

- Seilzugende - 1 - am steuerventil aushängen.
- Halteschraube - 3 - herausdrehen und seilzug - 2 - vom
getriebe abnehmen.
Einbau

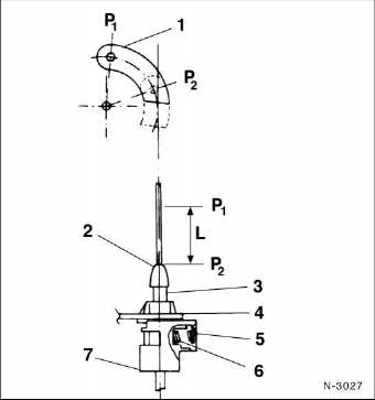
- Seilzugseele - 1 - hin- und herbewegen und leichtgängigkeit
prüfen. A - motor-seite, b - getriebe-seite.

- Seilzugseele - 2 - durch das gehäuse und die führungsnut
- 3 - im steuerventil - 4 - führen. Seilzugende - 1 - befestigen.
- Von außen an der seilzugseele ziehen. Dabei sorgfältig
darauf achten, daß sich die seilzuseele leichtgängig im
gehäuse bewegen läßt und nicht an der gehäusewand
oder dem ventilgehäuse scheuert.

- Drosselklappenzug an der konsole - 3 - befestigen. Dabei
seilzug so ausrichten, daß die kennzeichnung - a - am
kunststoffgehäuse des seilzugs mit der kennzeichnung
- b - an der motorseitigen halterung übereinstimmt.
- Nach dem zusammenbau sicherstellen, daß der teil - c -
gespreizt und sicher befestigt wird, wie in der abbildung
gezeigt.
- Drosselklappenzug am drosselklappensegment - 1 - einhängen
und einstellen. Achtung: zum befestigen des
seilzugs am drosselklappensegment keine langschenklige
zange oder ähnliches werkzeug verwenden, damit
der seilzug nicht geknickt wird.
Micra-generation II
Schalthebelgriff
faltenbalg
deckelblech
schalthebel-lagerbuchse
lagersitz
mit mehrzweckfett schmieren.
Staubschutz
mit mehrzweckfett schmieren.
...
Für die federung und dämpfung der vorderachse werden 2
mcpherson-federbeine verwendet, die jeweils aus einer
schraubenfeder und einem integrierten hydraulik-stoßdämpfer
bestehe ...
Andere Materialien:
Gilt für: Fahrzeuge mit Audi connect Fahrzeugsteuerung
Das Fahrzeug sammelt unter bestimmten Voraussetzungen Daten, die an einen Server
gesendet werden.
Wenn Daten abgelegt sind, können Sie mit dem Dienst z. B. folgende Werte abrufen:
Anzeige des Fahrzeugstandorts,
Anzeige des eigenen Standorts,
Route zu Ihrem Fahrzeug.
Glühlampen im Stoßfänger wechseln
Abb. 396 Heckleuchte im Stoßfänger links: Befestigungsschraube lösen
Abb. 397 Ausschnitt Heckleuchte: Glühlampe ausbauen
Ausbauen
► Prüfen Sie, welche Glühlampe defekt ist.
► Schalten Sie die Zündung und das Licht aus.
Das Fahrzeug kann zentral ent- und verriegelt werden. Sie haben folgende Möglichkeiten:
Funkschlüssel,
Sensoren in den Türgriffen*,
Schließzylinder an der Fahrertür, oder
Zentralverriegelungsschalter innen 41.
Blinkleuchten
Beim Entriegeln blinken die Blinkleuchten zweimal auf, beim Verriegeln einmal.