Nissan Micra (2002) - Reparaturanleitung: Stoßdämpfer / federbein hinten ausundeinbauen / zerlegen
Ausbau

- Achskörper mit einem hydraulischen werkstattwagenheber unterstützen, damit er beim lösen des stoßdämpfers nicht nach unten fällt. Holzzwischenlage verwenden.

- Abdeckkappe entfernen und stoßdämpfermutter vom innenraum her abschrauben.
- Schraube am achskörper lösen und herausziehen.
- Hinterachse mit wagenheber langsam ablassen und stoßdämpfer herausnehmen. Bei der micra-generation I, komplettes federbein herausnehmen.
Hinweis: soll beim micra der II. Generation die schraubenfeder ausgebaut werden, muß die hinterachse soweit abgelassen werden, bis die schraubenfeder herausgenommen werden kann. Dazu muß die komplette hinterachse vom unterboden abgeschraubt werden.
Einbau
- Stoßdämpfer prüfen.
- Gummiteile am federbeinlager sowie schraubenfeder auf rißbildungen und verformungen kontrollieren, gegebenenfalls auswechseln.
- Schraubenfeder auflegen, sie muß an den ansätzen des oberen und unteren federtellers anliegen.

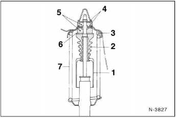
1 - Gummianschlag-gehäuse; 2 - gummianschlag; 3 - gummi-federteller; 4 - unterlegscheibe; 5 - gummilagerbuchsen; 6 - gummianschlag-sitz; 7 - schraubenfeder.
- Stoßdämpfer mit zwischenlagen korrekt einsetzen. Die abbildung zeigt den micra der i. Generation. Micra der generation ii abbildung n-3824 auf.
- Neue selbstsichernde obere stoßdämpfermutter mit 20 nm festziehen. Abdeckkappe aufdrücken.
- Hinterachse mit dem wagenheber so weit anheben, daß die untere schraube eingesetzt werden kann. Schraube für federbein am achskörper von der fahrzeugaußenseite zur innenseite hin einsetzen, neue selbstsichernde mutter mit 50 nm festziehen.
- Wagenheber unter der achse entfernen.
- Rad anschrauben, dabei auf markierung zur radnabe achten. Fahrzeug ablassen und radmuttern über kreuz mit 100 nm festziehen.
Die micra-hinterachse besteht vornehmlich aus einem
achsrohr, das durch zwei untere längslenker und zwei obere
schräglenker in längs- und querrichtung geführt wird. Bei
micra-mo ...
Micra-generation II
Zur demontage der schraubenfeder muß beim micra der
ii. Generation die hinterachse ausgebaut werden. Werden
lenker oder der panhardstab gelöst, muß zum endg&uum ...
Andere Materialien:
Aufgrund von landesspezifischen Ausstattungen und Messverfahren können die Werte
für einige Märkte abweichen.
Beachten Sie, dass die Angaben in den Fahrzeugpapieren stets Vorrang haben.
1) Die Werte sind nicht für alle Länderausführungen verfügbar.
Abb. 40 Mittelkonsole: Taste für Warnblinkanlage
Die Warnblinkanlage dient dazu, in Gefahrensituationen andere Verkehrsteilnehmer
auf Ihr Fahrzeug aufmerksam zu machen.
► Um die Warnblinkanlage ein-/auszuschalten, drücken Sie die Taste
.
Bei einer Vollbremsung aus höheren Geschwindigkeiten blinken die Bremsleuchten,
anschließend schaltet sich die Warnblinkanlage ein1).
EinschaltenGilt für: Fahrzeuge mit Geschwindigkeitsregelanlage
Die Geschwindigkeitsregelanlage ermöglicht das Fahren mit einer konstanten
Geschwindigkeit ab 20 km/h.
Abb. 139 Bedienhebel: Geschwindigkeitsregelanlage
â–º Um die Anlage einzuschalten, ziehen Sie den Hebel in Position
Abb.