Nissan Micra (2002) - Reparaturanleitung: Einbau


- Obere steuerkette - 1 - auf rißbildung - 2 - und übermäßigen
verschleiß - 3 - der kettenglieder und rollen
prüfen, gegebenenfalls steuerkette ersetzen
- zylinderkopfdichtung so auflegen, daß die bohrungen im
motorblock und der zylinderkopfdichtung übereinstimmen.
- Zylinderkopf auflegen und zylinderkopfschrauben mit
unterlegscheiben
einsetzen. Darauf achten, daß die angefaste
(abgeschrägte) seite der unterlegscheibe zum
schraubenkopf zeigt. Die glatte seite der scheibe zeigt
zum zylinderkopf. Achtung: vor einsetzen der zylinderkopfschrauben,
auflage des schraubenkopfes, unterlegscheibe
und gewinde dünn mit sauberem motoröl bestreichen.

- Die zylinderkopfschrauben werden von hand soweit eingeschraubt,
bis sie mit dem bund anliegen. Anschließend
werden die schrauben 1 bis 10 in 5 stufen und danach
die schrauben 11 bis 15 mit dem vorgeschriebenen
drehmoment angezogen. In jeder stufe müssen die
schrauben jeweils in numerischer reihenfolge (von 1 bis
10 bzw. 11 Bis 15) angezogen werden.
Anzugverfahren:
- Stufe: schrauben 1 bis 10 mit 40 nm festziehen.
- Stufe: schrauben 1 bis 10 mit 77 nm festziehen.
- Stufe: schrauben von 10 nach 1 vollständig lösen.
- Stufe: schrauben 1 bis 10 mit 35 nm festziehen.
- Stufe: schrauben 1 bis 10 mit einem starren schlüssel um
60 weiterdrehen. Hierzu wird eine winkelscheibe, z. B. Hazet
6690, benötigt.
- Stufe: schrauben 11 bis 15 mit 8 nm festziehen.
Achtung: das anziehen der zylinderkopfschrauben ist mit
größter sorgfalt durchzuführen. Vor dem anziehen der
schrauben sollte der drehmomentschlüssel auf seine genauigkeit
überprüft werden. Anzugsreihenfolge genau einhalten.
- Falls ausgebaut, tassenstößel an derselben stelle wieder
einbauen.
- Gleitflächen der nockenwellen und nockenwellenlager
vor dem einsetzen mit sauberem motoröl bestreichen.

- Nockenwellen einsetzen und wie in der abbildung dargestellt
ausrichten. Der paßstift - 1 - der auslaß-nockenwelle
muß senkrecht nach oben zeigen, der paßstift - 2 - der
einlaß-nockenwelle muß an der zylinderkopf-oberkante
liegen.
Achtung: aus- und einlaß-nockenwelle nicht verwechseln.
Die auslaß-nockenwelle hat an der schwungradseite eine
exzentrische nut für den zündverteiler.

- Nockenwellenlagerdeckel einbauen. Beim einsetzen darauf
achten, daß die lagerdeckel entsprechend ihrer
kennzeichnung ausgerichtet und eingesetzt werden.
Achtung: vor einsetzen der lagerdeckelschrauben, auflage
des schraubenkopfes und gewinde dünn mit sauberem
motoröl bestreichen.
- Flüssiges dichtmittel, z. B. Curil, auf die schraffierte anlagefläche
der zündverteiler-konsole - 1 - auftragen und
konsole von hand anschrauben.
- Lagerdeckel und konsole in numerischer reihenfolge
zunächst mit 2 nm, in der 2. Stufe mit 6 nm und in der 3.
Stufe mit 10 nm festziehen.

- Nockenwellenräder zusammen mit der oberen steuerkette
montieren. Darauf achten, daß die kennzeichnungen
- a - der nockenwellenräder zur stirnseite des zylinderkopfes
zeigen. Die 3 silbernen kennzeichnungen - b - der
kette müssen mit den kennzeichnungen - a - der
nockenwellenräder übereinstimmen. Zur erleichterung
beim einsetzen der kette sind in der abbildung unter - c -
die anzahl der kettenglieder zwischen den markierungen
angegeben.
- Lage der nockenwellenräder nochmals prüfen abbildung
n-10112.
- Nockenwellenräder mit 120 nm anschrauben. Achtung:
vor einsetzen der befestigungsschrauben, auflage des
schraubenkopfes, unterlegscheibe und gewinde dünn
mit sauberem motoröl bestreichen.

- Einzelteile des kettenspanners auf beschädigung überprüfen.
1 - Gehäuse, 2 - ratsche, 3 - druckfeder, 4 -
kolben, 5 - druckstück.


- Thermostatgehäuse mit flüssigem dichtmittel, z. B. Curil,
(raupe von 2 - 3 mm 0) ansetzen und anschrauben.
- Stütze für ansaugkrümmer mit 20 nm anschrauben.

- Zündverteiler einbauen. Dabei muß sich die nockenwelle
in der abgebildeten lage befinden.
- Steuergehäusedeckel mit flüssigem dichtmittel, z. B. Curil,
(raupe von 2 - 3 mm 0) ansetzen und anschrauben.
- Falls teile der ventilsteuerung ersetzt wurden, ventilspiel
einstellen.
- Anlagefläche des zylinderkopfdeckels mit verdünnung
reinigen. Die anlagefläche muß absolut fettfrei sein.

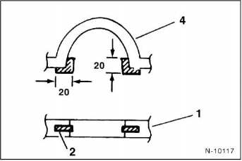
- Zylinderkopf - 3 - oben, wie in der abbildung gezeigt, mit
flüssigem dichtmittel - 2 - , z. B. Curil, (raupe mit 3 mm 0)
bestreichen und deckeldichtung auflegen. 1 - Ansicht von
oben. Die maße in der abbildung sind in mm angegeben.


- Zylinderkopfdeckel ansetzen und schrauben in der angegebenen
reihenfolge von 1 bis 10 mit 5 nm festziehen.
Achtung: nach dem einbau des zylinderkopfdeckels ist bis
zum starten des motors eine wartezeit von 30 minuten einzuhalten,
damit das dichtmittel aushärten kann.
Achtung: nach abnehmen der steuerkette dürfen kurbelwelle
und nockenwelle nicht einzeln für sich gedreht werden,
da die ventile sonst auf die kolbenböden aufschlagen.
Batter ...
Micra-generation I
Zahnriemen
darf nicht geknickt oder verdreht
werden. Der "pfeil" auf dem zahnriemen
muß in motordrehrichtung
zeigen.
Dichtung
obere zahnriemena ...
Andere Materialien:
App Karte aufrufenGilt für: Fahrzeuge mit Audi tablet
Suchen Sie über das Audi tablet nach einem Ziel und nutzen Sie es im MMI
für die Zielführung.
Voraussetzung: Die Voraussetzungen für Audi connect (Infotainment) sind erfüllt
.
► Wählen Sie: Taste > Karte.
Gilt für: Fahrzeuge mit Freier Suche
Mit Hilfe der Freien Suche können Sie selbst wählen, in welcher Reihenfolge
Sie Suchbegriffe in dos Eingobefeld eingeben.
Abb. 227 Prinzipdarstellung: Freie Suche im Telefon
Die Freie Suche ist verfügbar in den Menüs Fahrzeug*, Radio*, Medien*,
Telefon*, Navigation* TV* und Audi connect*.
Gilt für: Fahrzeuge mit Autotelefonfunktion oder Mobiltelefone mit Bluetooth
Message Access Profile
Abhängig vom verwendeten Mobiltelefon und dem Mobilfunkvertrag können Sie
Kurznachrichten (SMS) über das MMI empfangen und versenden. Das Sprachdialogsystem*
bietet zusätzlich die Möglichkeit, SMS zu diktieren.