Nissan Micra (2002) - Reparaturanleitung: Ventilschaftabdichtung ersetzen
Alle motoren
Ein zu hoher ölverbrauch kann auf verschlissene ventilschaftabdichtungen
zurückzuführen sein. Die ventilschaftabdichtungen
können auch bei eingebautem zylinderkopf
ausgebaut werden, allerdings werden dann nissan-spezialwerkzeuge
benötigt. Wenn die spezialwerkzeuge nicht zur
verfügung stehen, muß der zylinderkopf ausgebaut werden.
Ausbau
- Zylinderkopf ausbauen.
- Ventile ausbauen.

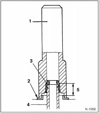
- Ventilschaftabdichtung herausziehen. Zum ausbau wird
eine flachzange benötigt.
Achtung: bei motoren mit tassenstößeln benutzen die
werkstätten ein spezialwerkzeug (hazet 791-5 oder
schlagauszieher hazet 791-2). Alte ventilschaftabdichtungen
sitzen in der regel sehr fest. Für den ausbau sollte deshalb
möglichst ein schlagauszieher benutzt werden. Achtung:
ventilschaftabdichtungen nicht mit dem schraubendreher
abdrücken, da dieser den sitz der ventilschaftabdichtungen
beschädigen könnte.
Einbau
Vor einbau der ventile ventilführungen prüfen und eventuell
ventilsitze nacharbeiten bzw. Einschleifen.

Achtung: steht das spezialwerkzeug nicht zur verfügung,
ventilschaftabdichtung mit einem hammer und einem geeigneten
rohr aufdrücken. Das rohr muß den gleichem durchmesser
wie die ventilschaftabdichtung haben und darf keine
scharfen kanten aufweisen.
- Ventilfeder und oberen ventilfederteller einsetzen und
spannen. Die enge steigung der ventilfeder muß zum
zylinderkopf zeigen.
- Ventilkegelstücke einsetzen, ventilfedern entspannen.
- Auf die gleiche weise sämtliche ventilschaftabdichtungen
erneuern.
- Ventile einbauen.
- Zylinderkopf einbauen, 31.
Alle motoren
Ausbau
Zylinderkopf ausbauen,31.
Nockenwelle(n) ausbauen, 33.
Achtung: werden teile der ventilsteuerung wieder verwendet,
müssen diese an gleicher stelle eingebaut w ...
Alle motoren
Bei instandsetzungsarbeiten an einem zylinderkopf mit undichten
ventilen genügt es nicht, die ventile und ventilsitze
zu bearbeiten beziehungsweise zu erneuern. Es ist außer ...
Andere Materialien:
Instrument
Bei einigen Ausführungen drehen sich die Zeiger der Instrumente bei
Einschalten der Zündung kurzzeitig bis zum Endanschlag.
Tachometer
Anzeige der Geschwindigkeit.
Kilometerzähler
In der unteren Zeile wird die zurückgelegte Strecke in Kilometer
angezeigt.
Das physikalische Prinzip eines Frontal-unfallsEnorme Kräfte entstehen bei einem Unfall, die abgebaut werden müssen.
Abb. 324 Ein Fahrzeug fährt mit nicht angegurteten Insassen auf eine
Mauer zu
Abb. 325 Das Fahrzeug prallt an die Mauer
Das physikalische Prinzip eines Frontalunfalles ist einfach zu erklären:
Sobald das Fahrzeug in Bewegung ist, entsteht sowohl beim Fahrzeug, als auch
bei den Fahrzeuginsassen Bewegungsenergie, die sogenannte „kinetische Energie" Abb.
Gilt für: Fahrzeuge mit Audi smartphone interface
Über das Audi smartphone interface können Sie Ihr Smartphone mit dem MMI
verbinden. Dabei werden bestimmte Inhalte Ihres Smartphones im Infotoinment-Display
für den Fahrbetrieb an-gepasst dargestellt und lassen sich über die MMI-Bedieneinheit
steuern.