Nissan Micra (2002) - Reparaturanleitung: Ventilspiel prüfen / einstellen
Alle motoren
Um unterschiedliche wärmeausdehnungen im ventiltrieb zu kompensieren, muß ein gewisses ventilspiel vorhanden sein.
Bei zu geringem spiel verändern sich die steuerzeiten, die verdichtung ist schlecht, die motorleistung nimmt ab, der motorlauf ist unregelmäßig. In extremen fällen können sich die ventile verziehen oder die ventile beziehungsweise ventilsitze verbrennen.
Bei zu großem spiel stellen sich starke mechanische geräusche ein, die steuerzeiten verändern sich, der motor gibt wegen mangelhafter zylinderfüllung weniger leistung ab, der motorlauf ist unregelmäßig.
Das einstellen der ventile hat nur dann den gewünschten erfolg, wenn die ventile einwandfrei abdichten, diese kein unzulässiges spiel in den ventilführungen haben und am schaftende nicht eingeschlagen sind.
Das ventilspiel ist jeweils nach reparaturen, oder wenn geräusche am ventiltrieb auftreten, zu prüfen beziehungsweise einzustellen. Im rahmen der wartung braucht das ventilspiel nicht geprüft zu werden.
Das ventilspiel soll bei betriebswarmem motor geprüft beziehungsweise eingestellt werden, kann aber auch bei kaltem motor eingestellt werden. In diesem fall ventilspiel anschließend bei betriebswarmem motor überprüfen.
Prüfvoraussetzung
- Motor starten und warmlaufen lassen, bis die kühlmitteltemperatur +80 - +90 c beträgt. Der zeiger der kühlmittel- temperaturanzeige am armaturenbrett steht dann in der mitte der skala.
- Motor abstellen.
- Alle zündkerzen herausschrauben
- Zylinderkopfdeckel abschrauben.
- Getriebe in leerlaufstellung bringen, handbremse anziehen.
- Kolben für zylinder 1 auf zünd-ot stellen, 31.
- Gleichzeitig steht auch der kolben in zylinder 4 im oberen totpunkt (ot). Die zylinder werden von rechts nach links gezählt. Zylinder 1 befindet sich auf der keilriemenseite des motors.
Prüfen micra-generation II
- Die tassenstößel für zylinder 1 müssen entlastet, das heißt die ventile müssen geschlossen sein, die von zylinder 4 müssen anliegen. Andernfalls kurbelwelle um eine umdrehung weiterdrehen.

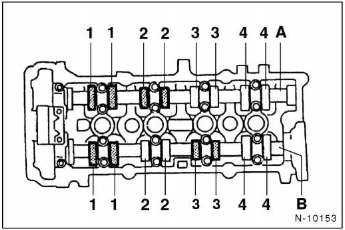
- In dieser stellung ventilspiel der einlaßventile von zylinder 1 und 2 sowie der auslaßventile von zylinder 1 und 3 prüfen. A = einlaßnockenwelle, b = auslaßnockenwelle.

- Mit einer fühlerblattlehre spiel zwischen nockenwelle und tassenstößel messen.
Sollwerte (warmer motor): einlaß: 0,32 - 0,40 mm auslaß: 0,36 - 0,44 mm
- Die fühlerblattlehre muß sich saugend durchschieben lassen, andernfalls ventilspiel einstellen.
- Liegt das ventilspiel nicht innerhalb der angegebenen toleranz, tatsächliches ventilspiel ermitteln und notieren.
- Motor um eine umdrehung (360) weiterdrehen, bis die markierung auf der riemenscheibe mit der markierung auf dem steuerriemendeckel übereinstimmt.
- Ventilspiel an den ventilen messen, die vorhin noch nicht berücksichtigt wurden. Das sind die einlaßventile für die zylinder 3 und 4 sowie die auslaßventile für die zylinder 2 und 4.
Einstellen
Das ventilspiel wird durch auswechseln der einstellscheiben eingestellt. Dazu müssen die tassenstößel mit einem niederhalter heruntergedrückt werden. Achtung: da der niederhalter genau zwischen die abstände der tassenstößel passen muß, ist hierfür das nissan-spezialwerkzeug kv- 10115110 erforderlich.
- Falls der sollwert nicht erreicht wird, motor so verdrehen, daß die nocke an dem einzustellenden ventil nach oben zeigt.

- Aussparung - 1 - des tassenstößels zur mitte des zylinderkopfes drehen.
- Einstellwerkzeug - a - , wie in der abbildung gezeigt, ansetzen und in pfeilrichtung - 2 - drehen. Dadurch werden die tassenstößel nach unten gedrückt. Achtung: darauf achten, daß die gleitfläche des nockens mit dem spezialwerkzeug nicht beschädigt wird.

Ermittlung der einstellscheibendicke
- Mit einer bügelmeßschraube die stärke der bisher eingebauten einstellscheibe messen, ergebnis notieren.
Zur berechnung der einstellscheibendicke folgende formel anwenden:
N = T + (A- S)
N = dicke der neu einzusetzenden scheibe T = dicke der ausgebauten scheibe A = gemessenes ventilspiel S = ventilspiel = mittelwert des sollwertbereichs einlaß: 0,37 mm; auslaß = 0,40 mm.
Achtung: zweckmäßigerweise die nocken der bereits eingestellten ventile mit kreide markieren.
- Zylinderkopfdeckel ansetzen und mit 10 nm festschrauben, siehe.
- Zündkerzen einbauen.
Prüfen micra-generation I

- Prüfen, ob der kolben für zylinder 1 in zünd-ot steht.
Dazu kipphebel für zylinder 1 von hand auf und ab bewegen.
Beide kipphebel für einlaß- und auslaßventil müssen gleichzeitig spiel aufweisen. Sonst kurbelwelle mit kreide an der riemenscheibe markieren und um eine umdrehung weiterdrehen.

- Wenn der kolben in zylinder 1 im zünd-ot steht, dann kann das ventilspiel der ventile 1, 2, 3 und 6 geprüft beziehungsweise eingestellt werden.

- Ventilspiel mit fühlerblattlehre - 1 - zwischen kipphebel - 2 - und ventilschaftende messen.
- Das ventilspiel ist richtig eingestellt, wenn sich die fühlerblattlehre stramm durchziehen läßt. Andernfalls ventilspiel einstellen.
Sollwerte einlaß: 0,25 mm auslaß 0,30 mm
- Kurbelwelle um eine umdrehung (360) weiterdrehen, damit der kolben in zylinder 4 im zünd-ot steht. Es müssen sich dann beide kipphebel für zylinder 4 bewegen lassen.
- Ventilspiel für die ventile 4, 5, 7 und 8 prüfen beziehungsweise einstellen abbildung n-10133.
Einstellen
Achtung: zweckmäßigerweise die kipphebel der bereits eingestellten ventile mit kreide markieren.
- Nach dem einstellen der ventile befestigungsschrauben der kipphebelachse auf festen sitz prüfen.
Achtung: falls das ventilspiel bei kaltem motor eingestellt wurde, spiel anschließend bei warmem motor nachprüfen.
- Zylinderkopfdeckel einbauen.
- Zündkerzen einbauen.
Ventilspiel in mm

Alle motoren
Bei instandsetzungsarbeiten an einem zylinderkopf mit undichten
ventilen genügt es nicht, die ventile und ventilsitze
zu bearbeiten beziehungsweise zu erneuern. Es ist außer ...
Andere Materialien:
Micra-generation I
Scheibenrad (felge) zur radnabe mit farbe kennzeichnen.
Dadurch kann das ausgewuchtete rad wieder an
gleicher stelle montiert werden.
Radmuttern bei auf dem boden stehendem fahrzeug lösen.
Fahrzeug aufbocken.
Gilt für: Fahrzeuge mit Plug-in-Hybrid-Antrieb
Der EV Modus ist nur aktiv, wenn folgende Bedingungen erfüllt sind:
Der Ladezustand der Hochvoltbatterie ist ausreichend.
Die Temperatur der Hochvoltbatterie ist ausreichend (nicht unter ca.
Sicherungen wechselnEine durchgebrannte Sicherung ist am durchgeschmolzenen Metallstreifen erkennbar.
Abb. 381 Fahrerfußraum (Linkslenker):
Fußstütze, Beifahrerfußraum (Rechtslenker): Abdeckung
Abb. 382 Cockpit Fahrerseite (Linkslenker/Rechtslenker):
Abdeckung, Gepäckraum links: Abdeckung (Ausschnitt
rechts nur bei Plug-in-Hybrid-Antrieb*)
Die Sicherungen befinden sich im Fußraum unter der Fußstütze (Linkslenker)
Abb.