Nissan Micra (2002) - Reparaturanleitung: Zahnriemen aus- und einbauen
Micra-generation I
Ausbau
- Batterie-massekabel (-) von der batterie abklemmen.
Achtung: dadurch werden die elektronischen speicher
gelöscht, wie zum beispiel der der radiocode. Vor dem
abklemmen der batterie sollten auch die hinweise im kapitel
"batterie aus- und einbauen" durchgelesen werden.
- Radmuttern für rechtes vorderrad bei auf dem boden
stehendem fahrzeug lösen. Scheibenrad (felge) zur
radnabe mit farbe kennzeichnen. Dadurch kann das
ausgewuchtete rad wieder an gleicher stelle montiert
werden.
- Fahrzeug aufbocken.
- Rechtes vorderrad ausbauen.
- Seitliche motorabdeckungen im rechten radhaus ausbauen.
- Sämtliche zündkerzenstecker abziehen. Dabei nur an
den steckern, nicht an den kabeln ziehen. Zündverteilerdeckel
abbauen und zur seite legen.
- Sämtliche zündkerzen herausschrauben.
- Keilriemen für generator ausbauen.
- Falls vorhanden, keilriemen für servolenkungspumpe
und klimakompressor ausbauen.
- 1. Zylinder auf zünd-ot stellen. Dazu getriebe in leerlaufstellung
bringen und handbremse anziehen. Kurbelwelle
an der zentralschraube in motordrehrichtung - im
uhrzeigersinn - verdrehen, bis die markierung an der
kurbelwellen-riemenscheibe gegenüber der ot-markierung
"0" am zündzeitpunkt-blech steht.
- Eine 2. Möglichkeit zum verdrehen der motorkurbelwelle:
das abmontierte rechte vorderrad aufstecken, von hand
anschrauben, den 5. Gang einlegen und das rad von
hand im uhrzeigersinn verdrehen.
- Am zündverteilergehäuse mit filzstift eine markierung
neben dem zündkabelanschluß für zylinder 1 anbringen.
Zylinder 1 ist der erste zylinder auf der zahnriemenseite.
- Verteilerdeckel ausbauen und zur seite legen.
- Die spitze des zündverteilerläufers muß gegenüber der
am verteilergehäuse angebrachten markierung stehen,
sonst kurbelwelle um 1 umdrehung weiterdrehen.
Achtung: nachdem der motor auf zünd-ot eingestellt ist,
getriebe in leerlaufstellung bringen und nochmals kontrollieren,
ob die markierungen an der kurbelwellen-riemenscheibe
und der bezugsmarke übereinstimmen, gegebenenfalls
korrigieren. Wenn die markierungen übereinstimmen, motoreinstellung
auf keinem fall mehr verändern.
- Motor blockieren und befestigungsschraube der kurbelwellen-
riemenscheibe abschrauben. Zum blockieren des
motors 5. Gang einlegen und von helfer bremse treten
lassen.

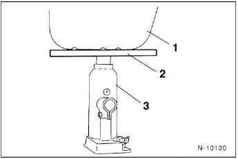
- Wagenheber - 3 - mit holzzwischenlage - 2 - unter der ölwanne
- 1 - ansetzen und motor leicht vorspannen, bis
die motorlager entlastet sind. Den wagenheber nicht an
der ölablaßschraube der ölwanne ansetzen.

- Rechte motor-einbauhalterung - 1 - ausbauen.
- Zahnriemenabdeckungen - 2 - abschrauben.
- Soll der alte zahnriemen wieder verwendet werden, so ist
dieser sicherheitshalber zu kennzeichnen. Es muß auf
dem zahnriemen mit einem fett- oder filzstift ein pfeil in
motordrehrichtung angebracht werden. Der motor dreht
sich im uhrzeigersinn.

- Spannrollenmutter lösen und spannrolle - 1 - mit einem
schraubendreher oder montierhebel - 2 - nach links
drücken, bis der zahnriemen entspannt ist. In dieser stellung
spannrollenmutter wieder anziehen.
Achtung: zum schutz der spannrolle den schraubendreher
mit einem tuch abdecken.
Achtung: ot-stellung von nocken- und kurbelwelle bei
ausgebautem zahnriemen nicht mehr verändern. Falls die
nockenwelle bei ausgebautem zahnriemen verdreht werden
muß, darauf achten, daß die kurbelwelle nicht auf ot steht
(beschädigungsgefahr für ventile und kolbenböden). Dazu
stellung des kurbelwellenrades markieren (mit farbe eine
markierung auf dem kurbelwellenrad und am motorblock anbringen).
Anschließend kurbelwellenrad um v* umdrehung
(90) vor- oder zurückdrehen.
Micra-generation I
Zahnriemen
darf nicht geknickt oder verdreht
werden. Der "pfeil" auf dem zahnriemen
muß in motordrehrichtung
zeigen.
Dichtung
obere zahnriemena ...
Falls folgende mängel festgestellt werden, zahnriemen
grundsätzlich ersetzen:
kühlflüssigkeit oder motoröl auf dem zahnriemen. Ursache
dafür sind in der re ...
Andere Materialien:
Tankklappe öffnenGilt für: Fahrzeuge mit Plug-in-Hybrid-Antrieb und Benzinmotor
Abb. 120 Fahrertür: Taste
Vor dem Tanken muss das Tanksystem entlüftet werden.
â–º Ziehen Sie an der Taste .
► Nach dem Entlüften öffnet sich die Tankklappe automatisch.
Das Automatikgetriebe ermöglicht ein automatisches Schalten (Automatik-
Modus) oder ein manuelles Schalten (Manuell-Modus).
Getriebe-Display
Im Getriebe-Display werden Modus oder gewählter Gang angezeigt.
Wählhebel
P = Parkstellung, Räder sind blockiert; nur bei stillstehendem Fahrzeug
und betätigter Parkbremse einlegen R = Rückwärtsgang, nur bei
stillstehendem Fahrzeug einlegen N = Neutral- bzw.
Apps aufrufenGilt für: Fahrzeuge mit Audi tablet
Sie hoben Zugriff auf alle Apps.
► Wählen Sie: Taste >
.
Es wird eine Übersicht mit installierten fahrzeugunabhängigen Apps und den Audi
Apps angezeigt.
Weitere Informationen zu den fahrzeugunabhängigen Apps erhalten Sie in der entsprechenden
Bedienungsanleitung der App oder vom Hersteller.